Запасные части ЧТЗ Запасные части ЧТЗ
Ульяновск
Например:
Актобе
Алдан
или
Выбрать автоматически
Актобе
Алдан
Алматы
Алчевск
Архангельск
Астана
Астрахань
Атырау
Баку
Балашиха
Барнаул
Белгород
Бердянск
Бишкек
Владивосток
Владикавказ
Воркута
Воронеж
Горловка
Грозный
Донецк
Екатеринбург
Иваново
Ижевск
Иркутск
Казань
Калининград
Каменск-Уральский
Караганда
Каховка
Кемерово
Киров
Комсомольск-на-Амуре
Костанай
Краснодар
Красноярск
Красный луч
Ленск
Луганск
Магадан
Магнитогорск
Макеевка
Махачкала
Мелитополь
Минск
Мирный (Якутия)
Москва
Мурманск
Нерюнгри
Нижневартовск
Нижний Новгород
Нижний Тагил
Новая каховка
Новокузнецк
Новосибирск
Новый Уренгой
Норильск
Ноябрьск
Нур-Султан
Омск
Оренбург
Ош
Павлодар
Пермь
Петрозаводск
Петропавловск
Петропавловск-Камчатский
Псков
Ростов-на-Дону
Салехард
Самара
Санкт-Петербург
Саратов
Севастополь
Семей
Симферополь
Сочи
Ставрополь
Сургут
Сыктывкар
Тараз
Ташкент
Токмак
Томск
Тында
Тюмень
Ульяновск
Усинск
Усть-Каменогорск
Уфа
Хабаровск
Ханты-Мансийск
Херсон
Челябинск
Чита
Шымкент
Экибастуз
Энергодар
Южно-Сахалинск
Якутск
Ваш город
Ульяновск
Войти
Запасные части к тракторам на одном сайте
+7 (932) 303-00-10
+7 (932) 303-00-10
г. Ульяновск, Московское шоссе, д. 9А
Пн-Пт: 9:30-18:30 Cб-Вс: Выходной
Отправить заявку


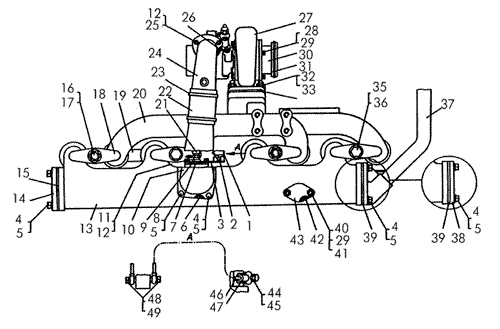
Установка коллектора на Т-170


/
с НДС 20%
Описание
Установка коллектора Т-170
Поз.НаименованиеАртикулКол-во в сборке
0Установка коллекторов51-05-51СП1
051-05-52СП1
051-05-53СП1
1Клапан топливный электромагнитный1102.37411
2Трубка51-05-150СП1
3Кронштейн51-05-1111
4БолтМ10Х25.58.01910
5Шайба10ОТ65Г0912
6Прокладка 700-40-22331
7Прокладка51-05-1691
8БолтМ10Х30.58.0192
9Кольцо20Х361
10Патрубок 51-05-5181
10Патрубок51-05-5191
11БолтМ6Х16.58.0194
12Шайба6Т65Г094
13Коллектор впускной 51-05-299СП1
14Крышка51-05-3251
15Прокладка 700-40-74031
16Шпилька700-29-22102
17Гайка 30132
18Планка05688-14
19Прокладка 700-40-3880сп2
20Коллектор выпускной 51-05-3131
21Свеча факельная штифтовая1102.37401
22Рукав700-46-22831
23Хомут или хомут червячный SGT 70-90/9 фирмы «Норма», ФРГ700-41-2222СП2
24Патрубок 51-05-370СП1
25ГайкаМ8Х1.6.0193
26Прокладка 700-40-81471
27Турбокомпрессор ТКР-8,5 51-54-1СП1
28Болт700-28-25854
29Шайба8Т65Г097
30Вставка 51-05-3141
31Кольцо уплотнительное 51-54-30 92.2641
32Гайка700-30-2099-018
33Шпилька700-29-2354-014
34Прокладка 700-40-73861
35Болт700-28-24862
36Шайба31782
37Труба выпускная 51-05-300СП1
38Крышка16-05-279-011
39Прокладка 700-40-74201
40ГайкаМ8Х6.0192
41Шпилька2М83p/6gХ25.661
42Прокладка462381
43Крышка16-05-4331
44Кольцо 51-06-81
45Болт700-41-27161
46Трубка51-05-327СП1
47Штуцер700-41-34152
48Кольцо 409384
49Штуцер700-41-29322
Установка коллектора