Запасные части ЧТЗ Запасные части ЧТЗ
Ульяновск
Например:
Актобе
Алдан
или
Выбрать автоматически
Актобе
Алдан
Алматы
Алчевск
Архангельск
Астана
Астрахань
Атырау
Баку
Балашиха
Барнаул
Белгород
Бердянск
Бишкек
Владивосток
Владикавказ
Воркута
Воронеж
Горловка
Грозный
Донецк
Екатеринбург
Иваново
Ижевск
Иркутск
Казань
Калининград
Каменск-Уральский
Караганда
Каховка
Кемерово
Киров
Комсомольск-на-Амуре
Костанай
Краснодар
Красноярск
Красный луч
Ленск
Луганск
Магадан
Магнитогорск
Макеевка
Махачкала
Мелитополь
Минск
Мирный (Якутия)
Москва
Мурманск
Нерюнгри
Нижневартовск
Нижний Новгород
Нижний Тагил
Новая каховка
Новокузнецк
Новосибирск
Новый Уренгой
Норильск
Ноябрьск
Нур-Султан
Омск
Оренбург
Ош
Павлодар
Пермь
Петрозаводск
Петропавловск
Петропавловск-Камчатский
Псков
Ростов-на-Дону
Салехард
Самара
Санкт-Петербург
Саратов
Севастополь
Семей
Симферополь
Сочи
Ставрополь
Сургут
Сыктывкар
Тараз
Ташкент
Токмак
Томск
Тында
Тюмень
Ульяновск
Усинск
Усть-Каменогорск
Уфа
Хабаровск
Ханты-Мансийск
Херсон
Челябинск
Чита
Шымкент
Экибастуз
Энергодар
Южно-Сахалинск
Якутск
Ваш город
Ульяновск
Войти
Запасные части к тракторам на одном сайте
+7 (932) 303-00-10
+7 (932) 303-00-10
г. Ульяновск, Московское шоссе, д. 9А
Пн-Пт: 9:30-18:30 Cб-Вс: Выходной
Отправить заявку


Установка привода насоса на Т-170


/
с НДС 20%
Описание
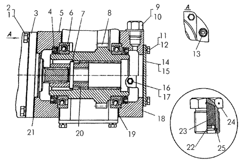
Установка привода насоса Т-170
Поз.НаименованиеАртикулКол-во в сборке
0Установка привода насоса 50-26-85СП1
1Болт 285564
2Шайба12ОТ65Г0912
3Насос НШ100А-3Л1
4Манжета1.2-90Х120-42
5Фланец 18-26-8021
6Подшипник 118 (6018)2
7Штифт700-32-20811
8Вал 50-26-8141
9Сапун18-26-286СП1
10Прокладка700-42-2631-011
11БолтМ10Х25.58.0194
12Шайба10ОТ65Г094
13ГайкаМ12Х1,25.6.0198
14Крышка50-26-8321
15Прокладка 700-40-26311
16Пробка371211
17Прокладка700-42-26311
18Фланец18-26-8011
19Прокладка 700-40-37662
20Муфта 50-26-8071
21Прокладка 700-40-36881
22Шайба18-26-4221
23Волос обработанный
24Корпус сапуна18-26-4211
25Кольцо пружинное2610461
Установка привода насоса