Запасные части ЧТЗ Запасные части ЧТЗ
Ульяновск
Например:
Актобе
Алдан
или
Выбрать автоматически
Актобе
Алдан
Алматы
Алчевск
Архангельск
Астана
Астрахань
Атырау
Баку
Балашиха
Барнаул
Белгород
Бердянск
Бишкек
Владивосток
Владикавказ
Воркута
Воронеж
Горловка
Грозный
Донецк
Екатеринбург
Иваново
Ижевск
Иркутск
Казань
Калининград
Каменск-Уральский
Караганда
Каховка
Кемерово
Киров
Комсомольск-на-Амуре
Костанай
Краснодар
Красноярск
Красный луч
Ленск
Луганск
Магадан
Магнитогорск
Макеевка
Махачкала
Мелитополь
Минск
Мирный (Якутия)
Москва
Мурманск
Нерюнгри
Нижневартовск
Нижний Новгород
Нижний Тагил
Новая каховка
Новокузнецк
Новосибирск
Новый Уренгой
Норильск
Ноябрьск
Нур-Султан
Омск
Оренбург
Ош
Павлодар
Пермь
Петрозаводск
Петропавловск
Петропавловск-Камчатский
Псков
Ростов-на-Дону
Салехард
Самара
Санкт-Петербург
Саратов
Севастополь
Семей
Симферополь
Сочи
Ставрополь
Сургут
Сыктывкар
Тараз
Ташкент
Токмак
Томск
Тында
Тюмень
Ульяновск
Усинск
Усть-Каменогорск
Уфа
Хабаровск
Ханты-Мансийск
Херсон
Челябинск
Чита
Шымкент
Экибастуз
Энергодар
Южно-Сахалинск
Якутск
Ваш город
Ульяновск
Войти
Запасные части к тракторам на одном сайте
+7 (932) 303-00-10
+7 (932) 303-00-10
г. Ульяновск, Московское шоссе, д. 9А
Пн-Пт: 9:30-18:30 Cб-Вс: Выходной
Отправить заявку


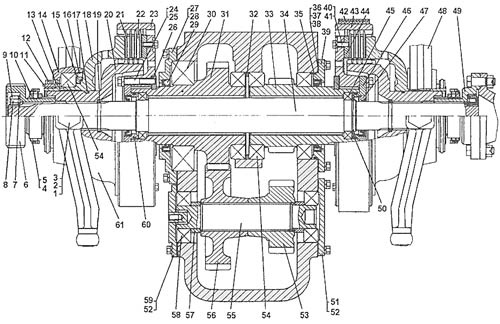
Редуктор 71-44-101СП, 71-44-102СП на ТР20 и ТР12


/
с НДС 20%
Описание
Редуктор 71-44-101СП, 71-44-102СП
Поз.ОбозначениеНаименованиеКол-во
171-44-1Корпус1
274-44-3Корпус1
3М10-6gх25.58.019Болт 16
410 ОТ 65Г 09Шайба 112
53262Штифт4
6700-40-8596Прокладка2
7700-28-2578Болт24
824 ОТ 65Г 09Шайба 24
971-44-2Крышка1
1071-44-4Крышка1
11М10-6gх30.58.019Болт 44
12М10x35.58.019Болт 20

Редуктор 71-44-101СП
Редуктор 71-44-101СП
Поз.ОбозначениеНаименованиеКол-во
171-44-120СПРычаг2
271-44-52Палец2
3Шайба стопорная 313174
4КО 1.6Проволока 0,5м
528447Болт4
671-44-130-01Полумуфта1
762-14-59Пластина3
8В.М8х16.14НВинт4
9700-30-2264Гайка3
1071-44-129Втулка2
11700-35-542Винт2
12700-30-2412Гайка2
1371-44-126Втулка2
1428-16-11-01Корпус подшипника2
1571-44-41Кольцо2
16Кольцо пружинное 700-58-20032
17700-40-2940Кольцо2
1871-44-97Диск нажимной2
1971-44-49Кольцо3
2071-44-127Барабан ведущий2
21Диск 71-44-124СП6
22Диск 71-44-344
2371-44-70Барабан1
24М10х55.58.019Болт 16
2510 ОТ 65Г 09Шайба 56
2671-44-94Кольцо2
2771-44-21Крышка1
28700-40-8593Прокладка1
292.1-100x125-4Манжета 2
30221Подшипник 1
3171-44-58Колесо зубчатое1
3271-44-38Кольцо1
3371-44-59Колесо зубчатое1
3471-44-128Вал ведущий1
35303-12Кольцо1
3671-44-134Прокладка регулировочная3
3771-44-134-01Прокладка регулировочная5
3871-44-134-02Прокладка регулировочная3
3971-4-139Крышка1
40М8-6gх25.88.35.019Болт 18
418Т 65Г 09Шайба 18
42Лента тормозная 71-44-148СП1
4371-44-69Барабан1
4471-44-150Кольцо2
451000911Подшипник 2
4671-44-92Корпус2
472.1-50x70-1 Манжета 2
4871-44-108СПДиск нажимной1
4971-44-100Полумуфта1
50700-58-2102Кольцо1
5171-44-23Крышка1
52700-40-8594Прокладка2
5371-44-8Колесо зубчатое1
54120Подшипник 4
5571-44-13Вал1
5671-44-7Колесо зубчатое1
5771-44-35Втулка2
58Подшипник 3082
5971-44-109СПКрышка1
60700-40-3123Кольцо2
6171-44-107СПДиск нажимной1

Редуктор 71-44-102СП
Редуктор 71-44-102СП
Поз.ОбозначениеНаименованиеКол-во
1700-37-2154Пробка6
2 27x35Кольцо6
371-44-49Кольцо2
471-44-50Вал2
5700-40-8597Прокладка2
671-44-25; 71-44-27Крышка2
7700-30-2401Гайка2
8205Подшипник 4
920-25-30-2-2Кольцо 4
10В.М8х16.14НВинт 8
1171-44-44Пластина6
12214Подшипник 2
1371-44-36Кольцо2
1471-44-99Кольцо зубчатое2
1571-44-98Шестерня2
16313Подшипник 2
17700-40-8595Прокладка2
1871-44-26Крышка1
1871-44-24Крышка1
1971-44-31Валик2
2071-44-28Крышка2
21700-58-2563Кольцо4
22700-30-2264Гайка6
2362-14-59Пластина6
24700-40-8599Прокладка4
2571-44-29Корпус2
2671-44-30Втулка2
27210AKПодшипник 4
2871-44-32Втулка2
2971-44-12Колесо зубчатое2
30700-34-2051Шпонка сегментная2

Редуктор -101СП -102СП
Редуктор -101СП -102СП
Поз.ОбозначениеНаименованиеКол-во
171-44-116СПУпор1 1
2М10-6gх25.58.019Болт 16
310 ОТ 65Г 09Шайба 112
4М10x30.58.019Болт 44
5ВМ10-6gх22.58.019Винт 2
618-26-286СПСапун2
7700-40-2631-01Прокладка2
871-44-144СП Упор 1
971-44-51Палец4
10Шайба 315434
11700-37-2283Пробка4
121.3Ц6Масленка 4
Редуктор 71-44-101СП, 71-44-102СП