Запасные части ЧТЗ Запасные части ЧТЗ
Ульяновск
Например:
Актобе
Алдан
или
Выбрать автоматически
Актобе
Алдан
Алматы
Алчевск
Архангельск
Астана
Астрахань
Атырау
Баку
Балашиха
Барнаул
Белгород
Бердянск
Бишкек
Владивосток
Владикавказ
Воркута
Воронеж
Горловка
Грозный
Донецк
Екатеринбург
Иваново
Ижевск
Иркутск
Казань
Калининград
Каменск-Уральский
Караганда
Каховка
Кемерово
Киров
Комсомольск-на-Амуре
Костанай
Краснодар
Красноярск
Красный луч
Ленск
Луганск
Магадан
Магнитогорск
Макеевка
Махачкала
Мелитополь
Минск
Мирный (Якутия)
Москва
Мурманск
Нерюнгри
Нижневартовск
Нижний Новгород
Нижний Тагил
Новая каховка
Новокузнецк
Новосибирск
Новый Уренгой
Норильск
Ноябрьск
Нур-Султан
Омск
Оренбург
Ош
Павлодар
Пермь
Петрозаводск
Петропавловск
Петропавловск-Камчатский
Псков
Ростов-на-Дону
Салехард
Самара
Санкт-Петербург
Саратов
Севастополь
Семей
Симферополь
Сочи
Ставрополь
Сургут
Сыктывкар
Тараз
Ташкент
Токмак
Томск
Тында
Тюмень
Ульяновск
Усинск
Усть-Каменогорск
Уфа
Хабаровск
Ханты-Мансийск
Херсон
Челябинск
Чита
Шымкент
Экибастуз
Энергодар
Южно-Сахалинск
Якутск
Ваш город
Ульяновск
Войти
Запасные части к тракторам на одном сайте
+7 (932) 303-00-10
+7 (932) 303-00-10
г. Ульяновск, Московское шоссе, д. 9А
Пн-Пт: 9:30-18:30 Cб-Вс: Выходной
Отправить заявку


Бульдозерное оборудование с полусферическим и прямым отвалом ЧТЗ


/
с НДС 20%
Описание
Устройство оборудования описано на примере оборудования модели Е с полусферическим отвалом (рис. 1). Оборудование моделей В (рис. 1) и В4 (рис. 4) отличается формой отвала (прямой). На модели В4 для изменения угла поперечного перекоса установлены винтовые раскосы – ручной перекос.

Оборудование бульдозерное Е и В
Рис. 1 Оборудование бульдозерное Е и В
1,6-брус толкающий; 2-тяга; 3-балка; 4-подкос; 5-гидрораскос; 7-опора шаровая; 8-раскос винтовой; 9-стопор; 10-отвал полусферический; 11-рукоятка винтового раскоса; 12-отвал прямой

Оборудование бульдозерное состоит из рабочего органа (отвала с ножами), толкающего устройства, механизма компенсации перекоса отвала и системы управления.

Рабочий орган – отвал, соединяется с трактором при помощи толкающего устройства.
Отвал – жесткой сварной коробчатой конструкции, образованной из лобовых листов с приваренными к тыльной стороне продольными балками, листов, соединяющих балки между собой и верхней частью отвала, и боковыми стенками. К продольным балкам, нижней и средней, приварены проушины для соединения с толкающими брусьями и штоками гидроцилиндров подъема отвала. К верхним балкам приварены проушины для крепления гидравлического и винтового раскосов. К нижней части лобовых листов крепятся ножи.

Оборудование бульдозерное В4
Рис. 2 Оборудование бульдозерное В4
1-раскос винтовой; 2-тяга; 3-балка; 4-подкос; 5-отвал прямой; 6, 8-брус толкающий; 7-опора шаровая.

Толкающее устройство состоит из толкающих брусьев и предназначено для передачи усилия от трактора к отвалу.
Толкающие брусья – сварные, коробчатого сечения, впереди с проушинами для присоединения через крестовину к отвалу, сзади – с шаровыми опорами для крепления к рамам гусеничных тележек.

Механизм компенсации перекоса отвала предназначен для распределения боковых нагрузок на толкающие брусья и обеспечения изменения угла между отвалом и толкающими брусьями в момент перекоса отвала. Механизм компенсации перекоса отвала состоит из подкоса, балки и тяги. Балка одним концом соединена через кронштейн, другим – через серьгу с отвалом, а также с подкосом и тягой.
Положение отвала относительно продольной оси трактора изменяется при вращении регулировочного винта подкоса (предварительно отсоединить подкос от бруса).
Гидравлический (рис. 3) и винтовой (рис. 4) раскосы предназначены для изменения угла поперечного перекоса и регулирования угла резания отвала.
Раскосы одним концом крепятся к проушинам на отвале, другим – к проушинам на толкающих брусьях (рис. 4).

Раскос винтовой
Рис. 4 Раскос винтовой
1-раскос; 2-масленка; 3-винт; 4-кольцо стопорное; 5-втулка; 6-подшипник; 7-кольцо

Угол резания отвала регулировать изменением длины раскоса и гидрораскоса в одну сторону (при положении ножей отвала в плоскости опорной поверхности гусениц).
Для получения угла резания равного:
  • 50° – ввернуть винт раскоса до отказа
  • 60° – вывернуть винт раскоса до появления резьбы
  • 55° – установить размер 1180 мм между центрами проушин крепления раскоса. Вращение раскоса за каждые два оборота изменяет угол резания на 1°30'
Не допускается выдвижение винта более одного витка резьбы за торец гайки раскоса.

Гидравлическая система управления отвалом предназначена для подъема и опускания отвала, а также для перекоса отвала в поперечной плоскости и изменения угла резания.
Состоит из элементов гидросистемы трактора, гидроцилиндров подъема и опускания отвала и элементов гидросистемы перекоса отвала.
Гидравлическая система перекоса отвала присоединяется к гидросистеме трактора и состоит из гидрораскоса и гидролиний (трубы, рукава, соединения).
В состав элементов гидросистемы трактора входят: гидробаки с фильтром, гидронасос, гидрораспределитель с ручным управлением.

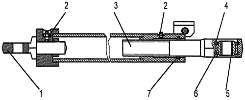
Гидрораскос
Рис. 3 Гидрораскос
1-гидрозамок; 2-кожух; 3-кольцо; 4-кольцо; 5-компенсатор; 6-угольник; 7-шайба; 8-винт стопорный; 9-гайка; 10-ограждение; 11-гидроцилиндр; 12 -втулка; 13-гайка; 14-шпилька; 15-штуцер

Гидрораскос (рис. 3) предназначен для управления поперечным перекосом отвала и состоит из гидроцилиндра с гидрозамком.
Гидроцилиндр двустороннего действия, с гидрозамком.
Гидрозамок – двусторонний, с двумя запорно-управляемыми элементами.

ЗАПРЕЩАЕТСЯ РАЗБОРКА ГИДРОЗАМКА. Гидравлический замок, отказавший в работе, следует снять и заменить новым.
Бульдозерное оборудование с полусферическим и прямым отвалом