Запасные части ЧТЗ Запасные части ЧТЗ
Ульяновск
Например:
Актобе
Алдан
или
Выбрать автоматически
Актобе
Алдан
Алматы
Алчевск
Архангельск
Астана
Астрахань
Атырау
Баку
Балашиха
Барнаул
Белгород
Бердянск
Бишкек
Владивосток
Владикавказ
Воркута
Воронеж
Горловка
Грозный
Донецк
Екатеринбург
Иваново
Ижевск
Иркутск
Казань
Калининград
Каменск-Уральский
Караганда
Каховка
Кемерово
Киров
Комсомольск-на-Амуре
Костанай
Краснодар
Красноярск
Красный луч
Ленск
Луганск
Магадан
Магнитогорск
Макеевка
Махачкала
Мелитополь
Минск
Мирный (Якутия)
Москва
Мурманск
Нерюнгри
Нижневартовск
Нижний Новгород
Нижний Тагил
Новая каховка
Новокузнецк
Новосибирск
Новый Уренгой
Норильск
Ноябрьск
Нур-Султан
Омск
Оренбург
Ош
Павлодар
Пермь
Петрозаводск
Петропавловск
Петропавловск-Камчатский
Псков
Ростов-на-Дону
Салехард
Самара
Санкт-Петербург
Саратов
Севастополь
Семей
Симферополь
Сочи
Ставрополь
Сургут
Сыктывкар
Тараз
Ташкент
Токмак
Томск
Тында
Тюмень
Ульяновск
Усинск
Усть-Каменогорск
Уфа
Хабаровск
Ханты-Мансийск
Херсон
Челябинск
Чита
Шымкент
Экибастуз
Энергодар
Южно-Сахалинск
Якутск
Ваш город
Ульяновск
Войти
Запасные части к тракторам на одном сайте
+7 (932) 303-00-10
+7 (932) 303-00-10
г. Ульяновск, Московское шоссе, д. 9А
Пн-Пт: 9:30-18:30 Cб-Вс: Выходной
Отправить заявку


Бульдозерное оборудование с поворотным отвалом с ручным перекосом ЧТЗ


/
с НДС 20%
Описание
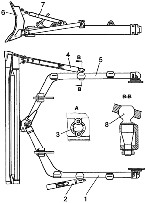
Бульдозерное оборудование с поворотным отвалом (рис. 5) состоит из отвала с толкателями и толкающего устройства – рамы.

Оборудование бульдозерное Д
Рис. 5 Оборудование бульдозерное Д
1, 5-полурама; 2, 4-брус толкателя; 3-гнездо; 6-отвал; 7-раскос винтовой; 8-палец шаровой

Отвал – сварной и состоит из лобового листа, усиленного с тыльной стороны верхней и нижней коробками жесткости. К нижней части лобового листа крепятся ножи. Для присоединения раскосов, брусьев толкателей и головки рамы к отвалу приварены проушины и гнездо.

Толкатели предназначены для соединения отвала с рамой, состоят из бруса толкателя и установленного на брус винтового раскоса.
Брус толкателя – сварной, коробчатого сечения. К переднему концу бруса толкателя приварена вилка. Задние концы брусьев толкателей заканчиваются разъемным сферическим шарниром, охватывающим шаровую головку пальца, установленного в кронштейне рамы.

Для изменения угла поперечного перекоса и регулирования угла резания на брусья толкателей установлены винтовые раскосы (рис. 6).

Раскос
Рис .6 Раскос
1-масленка; 2-винт; 3-кольцо; 4-раскос

Для получения угла резания отвала, равного:
  • 50° – ввернуть винт раскоса до отказа
  • 60° – вывернуть винт раскоса до появления резьбы
  • 55° – установить размер 1180 мм между центрами проушин крепления раскоса.
НЕ ДОПУСКАЕТСЯ ВЫДВИЖЕНИЕ ВИНТА БОЛЕЕ ОДНОГО ВИТКА РЕЗЬБЫ ЗА ТОРЕЦ ГАЙКИ РАСКОСА.

Толкающее устройство – рама состоит из правой и левой полурам, соединенных шарнирно. На верхней плоскости рамы приварены кронштейны для установки шаровых пальцев крепления толкателей.

Изменение угла поворота отвала в плане осуществляется перестановкой шаровых пальцев толкателей в соответствующие кронштейны рамы.

Рама крепится к шаровым опорам гусеничных тележек и проушины рамы к штокам гидроцилиндров.
Бульдозерное оборудование с поворотным отвалом с ручным перекосом