Ослабьте натяжение гусеницы. Подложите под гусеницу перед натяжным колесом трактора деревянный брусок толщиной 200 мм. Продвиньте трактор вперед так, чтобы натяжное колесо прошло брусок. Подложите под гусеницу сзади ведущего колеса такой же брусок. Продвиньте трактор назад, остановите его после того, как натяжное и ведущее колеса установятся на деревянных брусках, а гусеница будет свободно провисать между ними.
Предупреждение: не находитесь поблизости от трактора, когда он наезжает гусеницей на подкладочные бруски.
Снимите защитные щитки гусеницы. Ослабьте четыре болта крепления крышек катка к раме тележки. Заведите под каток вилы автопогрузчика. Отверните четыре болта крепления крышек катка к раме тележки и снимите каток. Масса однобортного катка 66 кг. Масса двубортного катка 74 кг.
Выверните болты 19 ( рис. 280 ) и снимите с катка крышки 12 и 18. Снимите с оси 7 катка пружины 9 с обоймами 10, с помощью отвертки пружинное кольцо 8, манжету 5, кольца 4 и 11 торцового уплотнения и прокладку 3.
Примечание: свяжите кольца торцового уплотнения для того, чтобы при сборке их установить в прежнее, положение, притертыми поверхностями друг к другу.
Отогните лапки шайбы 13 с граней болтов и выверните шесть болтов крепления упорной шайбы 17. Снимите упорную шайбу с резиновым кольцом 14 и регулировочными прокладками 15. Регулировочные прокладки 15 свяжите в пакет, чтобы при сборке установить их на прежние места для сохранения осевого люфта. Выньте из катка дистанционное кольцо 1 и снимите с оси шайбу 2 и разгрузочное кольцо 16 подшипника. Аналогично разберите вторую сторону катка.
Выньте ось 1 ( рис. 281 ) с внутренними кольцами роликоподшипников 2.
Спрессуйте с оси с помощью пресса и разъемной обоймы ( рис. 282 ) внутренние кольца подшипников.
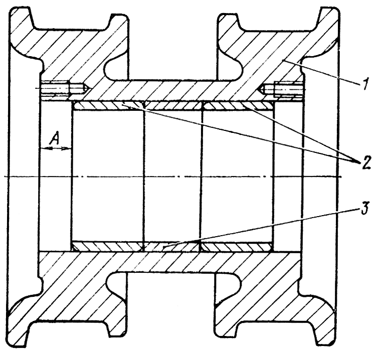
Выпрессуйте из ролика 1 ( рис. 283 ) с помощью пресса и оправки наружные кольца 2 роликоподшипников с дистанционной втулкой 3.
Перед сборкой трущиеся поверхности деталей смажьте трансмиссионным маслом. Осмотрите резиновые манжеты и уплотняющие кольца.
Протрите и смажьте маслом посадочное отверстие в ролике 1 ( см. рис. 283 ). Запрессуйте в ролик с помощью оправки и пресса наружное кольцо роликоподшипника 2 маркировкой наружу, обеспечивая размер А = (24±0,5) мм от торца ролика до торца кольца. Переверните ролик другой стороной кверху, установите дистанционную втулку 3 и запрессуйте второе наружное кольцо подшипника. Нагрейте в масляной ванне до температуры 363...373 К (90...100ºC) внутренние кольца 2 ( см. рис. 281 ) подшипников и напрессуйте их на ось 1 до упора в бурт маркировкой наружу. Разгрузочные кольца выполняют свое назначение только при установке их со стороны маркировки. Допускается местный зазор между буртом и торцом кольца не более 0,17 мм.
Установите ось в ролик отверстием под пробку 6 ( см. рис. 280 ) со стороны маркировки на торце ролика. Маркировкой могут быть буквы Н, или Р или Ф, товарный знак или наименование предприятия-изготовителя. Наденьте на внутренние кольца подшипников разгрузочные кольца 16. Установите с обеих сторон в ролик дистанционные кольца 1 до упора в наружные кольца подшипников. Наденьте на лыски оси шайбы 2 до упора во внутренние кольца подшипников.
Наденьте на упорную шайбу 17 регулировочные прокладки 15. Допускается установка с одной стороны двух прокладок толщиной 0,6 мм при условии установки с другой стороны не более четырех прокладок толщиной 0,3 мм. Наденьте на упорную шайбу уплотнительное резиновое кольцо 14; не перекрутите; смажьте его солидолом.
Вставьте в отверстия шайбы 13 и упорной шайбы 17 шесть болтов и закрепите упорную шайбу. Момент затяжки болтов 60...90 Н • м (6...9 кгс • м). Проверьте осевой люфт оси, который должен быть в пределах 0,1... 0,65 мм. Если осевой люфт не укладывается в эти пределы, отверните болты и уберите или добавьте необходимое количество прокладок 15. Застопорите болты, отогнув лапки шайбы на грани головок болтов. Установите в упорную шайбу резиновую прокладку 3 и кольцо 11 торцового уплотнения, совместив их вырезы со стопором упорной шайбы. Протрите поверхность кольца И и смажьте его тонким слоем чистого трансмиссионного масла. Протрите кольцо 4 и наденьте его на лыски оси. Кольца 4 к 11 устанавливайте друг к другу притертыми поверхностями. Установите на ось манжету 5, надев ее буртом на кольцо 4. Наденьте на манжету с помощью конусной оправки пружинное кольцо 8. Установите обойму 10 и пружину 9. Проверьте вращение оси катка в подшипниках. Ось должна вращаться плавно, без заеданий.
Собранный каток проверьте на герметичность воздухом под давлением 50...70 кПа (0,5...0,7 кгс/см²) в течение 10 с, не менее. Допускается падение давления до 50 кПа (0,5 кгс/см²). Воздух подводите через отверстие для заправки катка смазкой и при поджатых на 20 мм пружинах уплотнений. Заверните в ось пробку 6. Момент затяжки пробки 50... 80 Н-м (5...8 кгс-м). Наденьте крышки 12 и 18. Крышку 12 без трапецеидального паза устанавливайте на ось со стороны пробки. Зафиксируйте крышки на оси болтами 19.
Положите каток на вилы автопогрузчика, установите каток на раму тележки пробкой оси в наружную сторону трактора и закрепите его к раме тележки четырьмя болтами с пружинными шайбами. Момент затяжки болтов 220...280 Н-м (22...28 кгс-м). Если снимались все катки, то устанавливайте по концам тележки однобортные катки, затем два двубортных и в середине однобортный. Заправьте опорный каток маслом, согласно инструкции по эксплуатации.
Проверьте зазор между торцом обода ведущего колеса и внутренними торцами беговых дорожек катка, который должен быть не менее 4 мм с любой стороны. При зазоре менее 4 мм добавьте или убавьте прокладки под упорной шайбой гайки полуоси (см. раздел «Тележка гусениц»). Установите защитные щитки гусеницы. Съезжайте с брусков.
Предупреждение: не находитесь поблизости от трактора при съезде с подкладочных брусков.
Отрегулируйте натяжение гусеницы.



