Отсоедините топливопроводы высокого давления от секций и закройте отверстия в топливопроводах и секциях предохранительными пробками 2 ( рис. 152 ) и гайками-колпачками 1.
Снимите крышку смотрового люка насоса. Отверните болт, снимите поводок, соединяющий рейку с тягой насоса. Отверните два болта и удалите планки, удерживающие рейку в пазах блока насоса. Затем выньте рейку из корпуса насоса. Отверните болты и удалите прижимные угольники, крепящие секцию к блоку насоса. Приподнимите секцию вверх и снимите ее с установочных штифтов. Просуньте палец в смотровой люк, удерживая плунжер от выпадения из гильзы, передвиньте секцию в сторону так, чтобы конец плунжера вышел из паза регулировочного винта толкателя. Выньте секцию насоса и заглушите отверстие подвода топлива предохранительной пробкой 3.
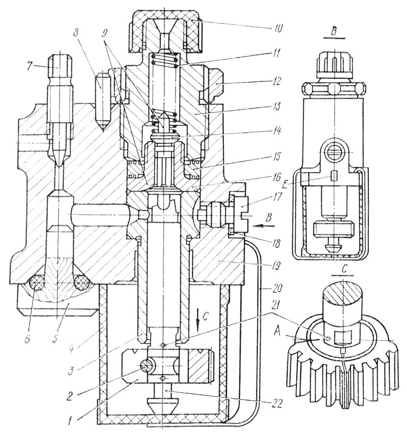
Вставьте в отверстие трубки в блоке насоса деревянные пробки, закройте колпачком 4 ( рис. 153 ) со скобой 20 секцию снизу.
Очистите секцию и промойте снаружи, а затем насухо вытрите. Снимите с секции защитные детали 5, 6 и 10, закрывающие топливные каналы, и колпачок 4 со скобой 20, закрывающий секцию снизу. Выньте из гильзы 3 плунжер 22 с зубчатым сектором. Выверните специальным изогнутым торцовым ключом ПИМ-640.200.01 винт 2 крепления зубчатого сектора 1 на плунжере.
Вставьте отвертку в прорезь сектора 1, слегка разведите его и снимите с пояска плунжера 22. Уложите плунжер в ванночку ПИМ-640.310 для мойки прецизионных деталей. Зажмите корпус 19 секции в приспособлении ЦИМ-640.040 так, чтобы штуцер 13 оказался сверху. Снимите со штуцера секции стопорное кольцо 12 специальным съемником ПИМ-640.150 с обоймой. Выньте из корпуса 19 секции .штифт 8 стопорного кольца. Выверните специальным ключом. ПИМ-640.200.06 из корпуса секции штуцер 13, на который навернут защитный колпачок.
Снимите пружину 11. Выньте гнездо 16 обратного клапана вместе с клапаном 14 и уплотнительным кольцом 15 специальным съемником ( рис. 154 ) или съемником ПИМ-640.240. Снимите с гнезда уплотнительное кольцо 15 ( см. рис. 153 ). Клапан 9 вместе с гнездом уложите в ванночку для мойки прецизионных деталей. Выверните отверткой стопорный винт 17 и удалите его вместе с прокладкой 18. Выньте гильзу 3 и положите в ванночку для мойки прецизионных деталей.
Выверните продувочную иглу 7 из корпуса секции насоса.
| Дизель | Количество подаваемого топлива за 500 ходов плунжера, см³ | Полный выход тяги рейки, мм | Частота вращения валика насоса, мин-1 | Толщина щупа, подкладываемого под пружину корректора, мм |
| Д-160 | 123 ±1,84 | 26,5 ±0,2 | 625 ±10 | 3,6 |
| Д-160Б | 122 ±1,83 | 26,5 ±0,2 | 535 ±10 | 3,6 |
Дизели Д-160 и Д-160Б имеют автоматическое отключение 2-го и 3-го цилиндров при переходе дизеля на холостой ход или малую нагрузку. Это достигнуто тем, что плунжеры топливного насоса 2-й и 3-й секции имеют более широкий перепускной продольный паз на головке. Поэтому комплект плунжерных пар и секций в сборе для 2-го и 3-го цилиндров имеют номера по каталогу, отличные от плунжерных пар и секций в сборе для 1-го и 4-го цилиндров. По установочным размерам эти детали одинаковые. У секций 2-го и 3-го цилиндров имеется отличительная метка О на приливе Е корпуса под стопорный винт гильзы.
Выньте плунжер 22 ( см. рис. 153 ) из гильзы 3. Вставьте отвертку в прорезь зубчатого сектора 1 и, слегка разведя его, наденьте на поясок плунжера так, чтобы торец сектора с риской был обращен к верхнему торцу плунжера! Зубчатый сектор устанавливайте на плунжер так, чтобы метка плунжера находилась примерно на середине расстояния между резьбовым отверстием и крайним зубом сектора. Смажьте маслом резьбу винта 2 и вверните его в сектор до упора специальным изогнутым торцовым ключом ПИМ-640.200.01.
Собранный плунжер положите в ванночку с чистым дизельным топливом. Протрите льняной салфеткой верхний торец гильзы 3 и торец в корпусе 19 секции и вложите гильзу в корпус так, чтобы наз на головке находился против отверстия под стопорный винт 17.
Наденьте на стопорный винт 17 прокладку 18 и туго заверните его в корпус секции. Хвостовик стопорного винта должен войти в паз гильзы. После полной затяжки винта, гильза плунжера должна иметь продольный люфт, определяемый на ощупь.
Наденьте на гнездо 16 клапана уплотнительное кольцо 15 и вложите его вместе с клапаном 9 в корпус секции. Осадите уплотнительное кольцо оправкой до упора в бурт гнезда. Наденьте пружину И на хвостовик обратного клапана и заверните штуцер 13 специальным ключом в корпус секции до упора.
Наверните на конец штуцера защитный колпачок 10. Вставьте снизу в гильзу 3 плунжер 22 и затяните штуцер секций, окончательно проверяя одновременно легкость перемещения плунжера в гильзе.
Запрессуйте штифт 8 в отверстие на верхней плоскости корпуса секции. Напрессуйте на штуцер секции стопорное кольцо 12 так, чтобы штифт 8 вошел в какой-либо паз на наружной поверхности кольца. Заверните В резьбовое отверстие на верхней плоскости секции продувочную иглу 7.
Вставьте в отверстие подвода топлива секции пробку 5 с резиновым кольцом 6. Снизу секцию закройте защитным колпачком 4 со скобой 20. На площадке Е корпуса секции, ниже стопорного винта гильзы, выбейте цифру, обозначающую номер группы плотности плунжерной пары.
Перед установкой секции протрите чистой салфеткой и осмотрите плоскости прилегания секции и корпуса топливного насоса. При обнаружении забоин зачистите их заподлицо с плоскостью.
Удалите защитную пробку из топливоподводящей трубки блока насоса, снимите с секции защитные детали. Наденьте уплотнительное резиновое кольцо на трубку подвода топлива в корпусе насоса. Снимите рейку насоса. Опустите секцию вместе с плунжером в корпус насоса, поддерживая пальцем плунжер от выпадания из гильзы. Заведите конец плунжера в паз регулировочного хвостовика толкателя и посадите секцию на штифты. После установки всех четырех секций закрепите их к корпусу топливного насоса прижимными угольниками и болтами с пружинными шайбами. Проверьте плотность прилегания корпуса секции к плоскости корпуса насоса. Зазор между плоскостями корпусов секции и насоса не допускается.
Поверните зубчатые секторы вместе с плунжерами так, чтобы зуб с меткой 2 ( рис. 155 ) на каждом секторе риской был обращен в сторону рейки насоса. Поставьте рейку насоса, совмещая зубья с меткой каждого сектора с риской на впадинах зубьев рейки, и введите в зацепление с секторами.
Для облегчения правильного зацепления рейки с секторами предварительно совместите метки на зубьях секторов крайних секций с рисками 1 на приливах корпуса насоса.
При вводе рейки на место добейтесь совпадения крайних рисок 1 на рейке с рисками на приливах корпуса насоса.
При этом меченные зубья крайних секторов войдут в зацепление с меченными впадинами зубьев рейки, а секторы остальных двух средних секций установите после ввода рейки на место.
Проверьте легкость перемещения рейки и убедитесь в совпадении меток на рейках и зубьях секторов. Поставьте на место планки крепления рейки и закрепите их болтами с пружинными шайбами.
Проверьте боковой зазор в сцепленных зубьях секторов и рейки. Проверяйте прижатием рейки 1 ( рис. 156 ) до упора в зубчатые секторы 2 и замера щупом зазора А между плоскостями планок 3 и рейки.
Этот зазор допускается не более 0,25 мм. Проверяйте зазоры отдельно для I и IV и для II и III секций. Поставьте на рейку и закрепите призонным болтом с пружинной шайбой поводок, соединяющий рейку с тягой. Вторично проверьте легкость перемещения рейки за- тягу. Усилие, необходимое для перемещения рейки за тягу из одного крайнего положения в другое, допускается не более 5Н (0,5 кгс). Установите на место крышку бокового' люка и закрепите ее болтами с пружинными шайбами. Присоедините к секциям топливопроводы высокого давления.
Секции топливного насоса регулируйте на насосе, у которого отрегулированы толкатели и установлен полный выход тяги рейки ( см. «Регулирование топливного насоса» ).
При регулировании секции тягу рейки закрепите в положении полной подачи (регулировочная муфта упирается в пружину корректора, под которую подложен щуп толщиной, указанной в табл. 19). Секции с отремонтированными или замененными прецизионными деталями перед регулированием подвергайте обкатке.
Во время обкатки и приработки деталей проверьте работу обратного клапана; если течь обнаружилась, то устраните ее.
Обкатывайте секции с топливопроводами высокого давления и форсунками, отрегулированными на давление 20,6 МПа (210 кгс/см²). Установите и закрепите секции на топливном насосе. Снимите со штуцеров защитные колпачки, поставьте рейку насоса в положение ВЫКЛЮЧЕНО, откройте краник от бака с топливом, отверните на два-три оборота продувочные иглы секций и держите их открытыми до.тех пор, пока из отверстий в корпусах секций топливо не начнет выходить непрерывной струей без пузырьков воздуха. Присоедините к секциям топливопроводы высокого давления и форсунки. Включите стенд, передвиньте рейку в положение полной подачи и обкатайте секции в течение 10 мин при частоте вращения валика насоса, равной 500 мин-1. Во время обкатки не допускается течь топлива из-под штуцера, стопорного винта, продувочной иглы и между корпусом секции и гильзы.
Регулируйте секции с топливопроводами высокого давления и форсунками, отрегулированными на нормальное давление топлива.
Регулируйте подачу топлива секциями поворотом зубчатого сектора на плунжере. При повороте сектора по часовой стрелке (смотря снизу вверх) подача топлива уменьшается, а при повороте сектора против часовой стрелки — увеличивается ( рис. 157 ).
На плунжере имеются лыски для удержания его ключом ПИМ-640.200.05 при повороте зубчатого сектора.
Подача топлива секцией за 500 рабочих ходов плунжера должна быть в пределах, указанных в табл. 19. Замер подаваемого секцией топлива производите сбором топлива в мерные стаканчики.
Перед регулированием убедитесь в том, что секции плотно притянуты болтами к плоскости корпуса насоса.
Для ускорения регулирования и повышения точности результатов испытаний замеряйте подачу топлива во всех случаях одновременно для четырех секций насоса.
После окончания регулирования и закрепления сектора винтом снова проверьте подачу топлива секциями, затем снимите с секций трубки, переведите рейку насоса в положение ВЫКЛЮЧЕНО, включите стенд и проверьте плотность посадки обратного клапана в гнезде. При плотной посадке конуса обратного клапана из отверстия штуцера секции не должно вытекать топливо.
После регулирования, отсоедините топливопроводы высокого давления и на штуцеры секций напрессуйте стопорные кольца, забейте стопорные штифты, затем на штуцеры наверните защитные колпачки. На секторах плунжеров после регулирования секций насоса нанесите риски А ( см. рис. 153 ) против меток 21 на шейках плунжеров.





